Фланцевые соединения типа ISO-K позволяют соединять компоненты от DN 63 до DN 630 в любом положении, независимо от расположения отверстий для болтов на любых не подвижных фланцах. Состоят из двух фланцев, центрирующего кольца, уплотнительного кольца и несколько стягивающих струбцин. Количество струбцин зависит от размеров соединяемых фланцев. Центрующее кольцо с уплотнением располагается между опорными поверхностями фланцев ISO-K. За счёт сжатия уплотнительного кольца обеспечивается вакуумно-плотное соединение. В системах с избыточным давлением используется дополнительное внешнее кольцо, позволяющее соединению сохранять герметичность при давлениях выше атмосферного.
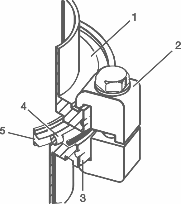
1 - Фланец ISO-К
2 - Струбцина
3 - Фланец ISO-К
4 - Уплотнение
5 - Центрирующее кольцо
Соединение двух фланцев ISO-K (рис.1)
Два фланца ISO-К могут быть соединены с помощью когтевых зажимов (двойная струбцина). При этом захваты струбцин размещаются в проточке, расположенной со стороны противоположной опорным поверхностям фланцев ISO-К, а усилие для сжатия уплотнительного кольца обеспечивается последовательной затяжкой болтов зажимов-струбцин.
Соединение фланца ISO-K к фланцу большого диаметра (рис.2)
Фланец ISO-К присоединяется к фланцу большого диаметра с помощью струбцин. Захваты зажимов размещаются в проточке, расположенной со стороны, противоположной опорным поверхностям фланцев ISO-К, а усилие для сжатия уплотнительного кольца обеспечивается последовательной затяжкой болтов зажимов, заворачивающихся в глухие отверстия фланца большого диметра.

Соединение фланца ISO-K с помощью фланцев ISO-F и стопорных колец (рис.3)
С помощью фланцев ISO-F и стопорных колец можно соединить как два фланца ISO-К, так и присоединить фланец ISO-К к фланцу большого диаметра. В этом случае стопорное кольцо располагается в проточке, расположенной на боковой поверхности фланца ISO-К, являясь опорой для фланца ISO-F. Усилие для сжатия уплотнительного кольца обеспечивается болтами, располагающимися в отверстиях фланца ISO-F

Фланцевые соединения типа ISO-K используются в вакуумных системах для соединения фланцев с диаметром проходного отверстия 63 мм и до 630 мм. Некоторые сферы применения:
Уплотнительные кольца ISO-К Ультрауплотняющие кольца ISO-K Центрирующие кольца ISO-K в сборе Центрирующие кольца (алюминий) ISO-K в сборе Центрирующие кольца ISO-K с фильтром тонкой очистки Фланцы ISO-K глухие Фланцы ISO-K под сварку Фланцы ISO-K с патрубком Адапторы ISO-K / CF Редукторы ISO-K / K Уголки ISO-K сварные Уголки ISO-K тянутые Тройники ISO-K Кресты ISO-K Сильфоны ISO-K Сильфоны ISO-K гибкие Когтевые зажимы ISO-K Струбцины ISO-K Струбцины ISO-K для уплотнения паза в опорной плите Болты на фланцевые соединения ISO-K
Специалисты АО «вакууммаш» предлагают вам комплексное решение. Подберут под ваши задачи: вакуумное оборудование, вакуумную арматуру и фланцевые соединения, окажут необходимую техническую поддержку. На нашем сайте можно Ознакомиться с каталогом на вакуумное оборудование
+7 (800) 100-59-62 kazan@vacma.ru